一、通过商标局网站自行查询。
二、委托代理机构专业查询。
三、去商标局注册大厅委托通达服务中心查询(他是商标局官方的下属商标查询部门)。 我们这里介绍,通过商标局网站自行查询,比较方便。
微信号:791880818添加微信, 免费咨询,辅助注册商标
复制微信号
有一个月左右审查盲区,商标查询结果,不管是免费商标查询,还是收费查询,仅作为参考,不能作为商标申请的依据。没有任何一个人能保证你申请的商标,以后肯定能注册成功。大家所能做的工作,就是将风险做到最低。商标注册申请永远不可能100%成功。《商标注册不能包过的三大原因》文章中有介绍。 具体免费商标查询方法:

首先,打开官网http://sbj.saic.gov.cn/ 点击【商标查询】
点击【我接受】,进行下一步。

知春路中国商标专网-提供专业商标注册服务
知春路为您提供专业商标注册服务加急申报,一次性收费。当天提交资料,24小时拿到申请号,很少人可以做到。商标具有在先申请原则,商标提交
可以看到有;【商标近似查询】,【商标综合查询】,【商标状态查询】,【商标公告查询】
商标优先权的查询,主要使用到 【商标近似查询】。
商标综合查询,商标状态查询,是你已经申请了商标,或者已经有商标以后进行查询的一种方式。
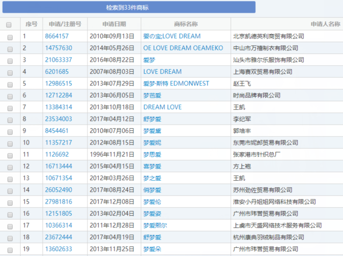
我们点击【商标近似查询】,就来到了查询页面,首先,让我们填写的商标类别,这个类别的选择在第一讲:《商标如何选择类别》中讲过。填写相应的类别。这里我们举个例子:比如我们查询服装行业,就是25类,商标名称:梦爱。我们对应填写进去。类似群可以不写。查询方式,相应选择。

以上就是在商标网自行查询的介绍。,可以看到查询结果,商标结果分析将在下一节讲。
风险偏低的基本就可以申请了,不要反复更好商标名称,比较商标申请时间是最重要的,虽然大多数商标代理机构,都提供免费商标查询,但第一时间提交,也是商标申请成功的关键。
注册商标专用权需要多少钱?影响商标专用权价格因素?
办理商标专用权需要多少钱?商标注册费用,由国家商标局收取的官费和商标代理机构的代理费构成,官费是300元,代理费则视商标代理机构收费