拼多多注册“拼夕夕”,自己山寨自己为哪般?!

2020-11-27 23:36:30 887 0
访客
商标侵权案例:“米家”商标案二审部分改判!赔偿金额由1200万降至310万 !
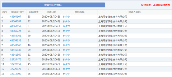
说起拼多多,它这几年发展确实非常迅猛,但在2018年左右,由于拼多多上大量白牌和山寨品牌的盛行,让很多买家收到跟商品表述和图像不符的产品,例如褪色的耐克,汏渍,立曰,立日,翢牌,甚至还有RTO或者RIQ等山寨品牌,故而导致拼多多用户忠诚度极低。 然后,拼多多被卖家戏称“拼夕夕”,讽其平台商品质量差且货不对板。 按理说被卖家这么讽刺了,拼多多应该在产品质量上做好把关的机制,毕竟只有质量得到了保证,才可以建立起良好的口碑,并能迅速进行推广。 但小编 看到了什么,拼多多居然把一个嘲讽梗给注册为商标? 不过上海寻梦公司不是最近才这么做的,早在2018年8月,该公司就曾申请注册过拼夕夕的商标,
Supreme被VF集团以21亿美元天价收购!它曾卷入这些商标纠纷……
其国际分类包括“科学仪器”、“网站服务”、“社会服务”等,只是目前这些商标状态多数显示为“等待实质审查”。 为了保护商标,知名企业不得不去注册可能永远也用不上的商标,比如阿里巴巴注册的“阿里妈妈”“阿里爷爷”,老干妈注册的“老千妈”、“老于妈”等192个类似商标。难怪大牌们会说:虽然知名企业抢注的一些商标很“搞笑”,但这一行为并不“可笑”,而是充满无奈。 其实为了避免后期花费过多的精力进行维权,大多数的企业会选择注册相关商标来对品牌进行更好的保护。当一个商标注册成功之后,尤其是成名之后,时常会在同一种或类似商品上有意或无意的出现近似商标。为了尽可能地避免这种情况发生,保护商标的防御策略就显得尤为重要,企业会战略性地进行注册一些防御商标。 “拼多多注册了‘拼夕夕’,很可能不是为了使用该名称,而是防止其它企业抢注这个名字‘碰瓷’拼多多。” 搜知号小编认为,拼多多、阿里巴巴等企业广撒网注册一堆很可能不使用的商标,是目前企业维护商业权益的有效措施之一,虽然抢注了一些“搞笑”商标,但这一行为本身并不“可笑”,而是充满无奈。 各种的“商标恶意抢注”事件不得不让人思考: 一味地保护先注册的商标究竟是利是弊?! 先不说拼多多注册“拼夕夕”的商标本意是否是为了维护本身的商标权益,其另一方面也在提醒着品牌方们维护商标权利的重要性。若您对商标注册的相关信息不是非常了解,可以选择正规的代理公司,搜知号商标网以诚信立业,为客户提供最专业的商标代理服务。
OPPO申请注册“绿厂”商标 vivo已注册“蓝厂”商标

微信号:791880818
添加微信, 免费咨询,辅助注册商标
复制微信号
收藏
分享
海报
0 条评论
887
上一篇:企业为什么要注册商标?商标查询的重要性有哪些? 下一篇:商标侵权案例:“米家”商标案二审部分改判!赔偿金额由1200万降至310万 !
请文明发言哦~

忘记密码?

图形验证码

复制成功
微信号: 791880818
添加微信, 免费咨询,辅助注册商标
我知道了